
M A T A T E C
Transformative Technologies
“ AUM ”
Bequest Heritage and Legacy
AUM JAI SAI RAMA
and
HARIOM NAMAH SHIVAAYA
Dear Ladies and Gentlemen,
- dear Brothers – dear Sisters and Friends
Is everything or are we All - whether gods in the highest heavens -
or the entities from the other side,
- All of us - and everything -
so in particular - also You like me - and me like You - in essence - PREMASVAROOPA - ATMASVAROOPA
- embodyments -
of BRAHMA-PREMATMA -
( - out of – and for pure love sake alone - all One - )
of the Divine ABSOLUTE -
- with there inherent waiting to blossoming seed, aim - and full divine power of character, realization and enlightenment;
- there is no other reality aim and goal - in all the universes !
So and therefore
- in great esteem and in deep gratitude to my ancestors and parents
- as to my Gurus -
His Holiness SRI SATHYA SAI BABA
and Her Holiness MATA AMRITANANDAMAYI MAA DEVI
as to my all way´s inner Guru
plus for the helping for - additional researchers, developerrs and friends …
I`m publishing here - as an open-source knowledge in principle - all my results and patents researched throughout my entire life so far ...
( - further information about all other technologies developed in cooperation with other developers -
or by other inventors - ; - as at more complex usages - on request …. ) .
All people and beings are cordially invited and called upon to explore and research all these especially ` AUM-Vortex ´- transformative developments, inventions, technologies and procedures -
- and to use and implement them …
( - the nature - as all mankind needs it - and is thirsting for ... )
- here also internationally -
as comprehensively as anyhow possible !!!
However everything should be used minimum in inner cooperation with the aims and goals of the
M A T A T E C
Transformative Technologies
- company -
www.MATATEC.de and www.MATATEC.in
in the sense of the
.
A S I
Associated Social Individuals
- Life-Success- and Cooperation-Charter
( )
- It is my express wish and only premise -
- that In addition to a smaller remuneration by aggreement to MATATEC ( - here in the future please and especially binding for all companies - then publicly clearly compre-hensibl ...) - at least 30 – or 36.9% of the net profits generated from this ( - or from the above applications economically and financially ) - should be used and donated
- for purely humanitarian and ecologically helpful and charitable purposes and
goals ...
- in particular, however - especially to enable orphaned children to have better pros-
pects of life-success and more happiness in life - and also to support economically poor
or additinally left alone or rejected by their families widows - and the most desperately
hopeless - and poorest of the poor ....
( - It is the great heritage of the Vedic BHARATIYA culture ( - clearly - always with appropriate behavior and prudence of
the same . ) to see and recognize in older people also additional esteemed and respected additional fathers, mothers,
uncles and aunties - , - to meet fellow human beings of nearly the same age - as additional brothers and sisters who
are in principle cooperatively and amicably connected , - and all younger people - as our beloved children ... and as
our common offsprings , - which is the most important and essential thing for a functioning common good as
happily prosperous people, both now and in the future, both for ourselves and for all our future generations, - both
for all of us and for the earth – for the nature as a whole - and for the happy continuation of humanity itself )
That`s reflectng and showing awareness and truth
In the ultimate primordial reason there are no others ... - only the DIVINE alone All-ONE exists and is alive )
- otherwise to and for the MATA AMRITANANDAMAYI MATH / Amrita-
puri / Annapurna - Bharata India
- or in future - also for the PREMA-SAI BABA – goals ,
- alltogether -
for the reconstruction and flourishing of SANATHANA DHARMA
and the esteem and respect towards Ourselves
- so for the PARABRAHMAN-PARAMMATMA – according
Reinstating of the Divine Principle …
In deepest trust confidence and esteem
AUM JAI SAI RAMA
.
and
HARIOM NAMAH SHIVAAYA
to All of YOU !
B o t i d a

Now to the several highest valuable developments
of Mr. Florian Meyer ( sorted by importance ) in detail :
Are inside the official patents nearly no single drawings to find,
- here the official opening and puplishing of them also ... !
Patent 1
"AUM"- Vortex developments and Innovations
from the patent ` Vorrichtungen und Verfahren zur Neutralisation und
Transformation feinstofflicher ( - o. besser subtil-energetischer - ) Schwingungs-
felder - respectivly under - `Devices and Methods for the Neutralisation and
Transformation of subtle Vibrational Fields' :
As just mentioned before - my most extensive patent with over 203 patent
demands - with several hundreds of single innovations - for all part of nowadays
architectural-, agricultural-, maritime-, electronical-, medical-, environmental-,
aeronautical-, hydrological-, river-engineering- etc. technologies, - ´
- technically mostly fully new possibilities of directing and concentrating or
spreading flows and vortexes , including new possibilities of ( - thus, in addition,
both vertically and horizontally possible vortex rollers, which reinforce each other by suction as well
as concentrating together,utilising rotational torques towards one point ) water power plants ;
- plus several ways and possibilities to reduce or minimise wall friction losses
and sedimentation - through active vortex acceleration with significantly in-
creased flow capacity, e.g. inside pipes and pipelines , with automatic cooling
down of flowing mediums through strongest whirl- or vortex activity - what´s a
most important benefit for water- and drinking water qualities - especially in
hotter areas ; - as well as to bridge any flow holes or flow traps , - e.g. in
trucks behind the cab ... for better aerodynamics while driving ... ;
- as well as for simple optimisation of aircraft wings etc. to prevent premature
stalls and to generate higher and better lift values even in extreme situations ...
- plus new ways of filtering and mixing inside or through the rotating vortexes ;
- where it is also possible to build strong counter-currents by means of an
initiation and medium main flow,
- which can be used, for example, to enable fish pulls also over higher weirs by
quasi-automatic fish intake pipes ( - what´s most beautiful , because it has been shown
that fishes like to smell the upstream waters and also to regognize the flow to get the impulse to
climb ... and because here the initiation flow is just next to it at the same pipe exit point - it will be
really function ) ;
- where it´s also possible to create in 2 ways ( - or from both sides ) suctioning
shipping lanes within strong tidal currents,
- or port facilities, which also within strong currents the ships or yachts ( - in
the flow-between areas possibly additionally generating electricity, - ) simply suck in.
- In the same way there could be made or created mainflow initiated rubbish
traps , where the plastic bags and all the trash in rivers and oceans are
sucked in through counterflows.
- Where this patent is showing also new - more natural ways - of flood-
protection for rivers and ocean shores ,
- plus how to enhence the quality of foodstuff and the quality and quantity (
plus pest-resitance ) of yields harvests
and so on and so on … ; -
- but also new - or better nicely rediscovered methods for a - to the nowadays
highly multicomplex circumstances adjusted modern VASTU and geomantic
vitalization of whole districts with everything inside - as a whole …
- all together basing on pure natural harmonic and bionic forms , that our
human technology will be and is also on subtle-energetic levels ATMA- and
PARAMATMA-according with inherent PARAMATMA conscousness,
- then also for our whole surrounding for animals or plants
- and subtle beings like the plant-Devas ,
- as well as on the microbiotic levels ( - then lacto-acid - fermentavive ... )
and so on ... most healthy, really constructive and beneficial ,
- what´s most important for an all-round pleasing productive and Soul-accor-
ding happy plus successful future for all mankind - plus of anything else
and All.
1.1 An Introduction and Exibition as drawings ... nicely to show inside of schools,
cultural places and universities ( - please let us know ifand when You´re organizing an
official exhibition of these pictures ) ... And a lecture of "AUM" vortex traditions as
the very basis of our all originalle same sacral-religious cultural foundation
background and heritage
An extern commercial publishing is here - as well as with all here and downward
now opened technical pictures files and drawings -
- under Copyright - all rights reserved - of Mr. Florian Meyer 2024 -
strictly prohibited
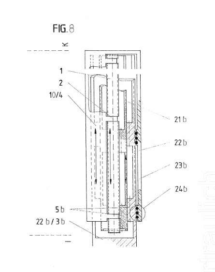
1.2 The full patent drawings
:
1.3 A selection of some Vortex Tubes plus ... ( - these are also available for larger pipe
diameters for power plant high-pressure downpipes, pipelines or district heating pipes, etc. ... )
1.5 Airplane Wings ...
1.5 MATATEC Hydrology and River-Engineering ...
Natural meandring rivers with enough of `forest´ vegetation-cooling of the surrounded earth are ( -
also because of the inner functions of the so called `Positive Temerature Gradient´ ) most valuable as most im-
portant for the energetic health and vigour of the whole environment ,,,
- An commercial publishing is ( see further above ... ) strictly prohibited
1.6 Architectural and light Urban - Pedesstrian Flow - Panic Protection also at
steps or long staircases ... plus
( - with these flow control elements, which are as practical as they are very beautiful, the highly
painful mass panic accidents at major events such as in Mecca or the Kumbh Mela or in sta-
diums etc. would be a thing of the past. )
1.7 All patented Airation-Turbines
- for all kind of Algea- and Mycorrhizza growth productions ...
- where the algeas are not getting damaged or blended nor crashed ...
And many many many other things -
and fully new possibilities and chances more
from this above patent ...
Patent 2
Belt - or Pocket-Belt Turbine
Highly effective also decentral mobile or only seasonal used
River- or Tidal Power Plant
- Highly stable , low-cost and long-life plus low-maintenance with highest power
output also for bridge-crossings and the use at bridge-piers, - for mobile ope-
rations with fold-out and submersible trailers or installed ascombined amphi-
bious drive and water-power-plant of a then for energy-production rightly an-
chored or moored catamaran.
- They are completely permeable to fish on both sides without dams and
without any necessary obstructions, plus also permeable to boats
- and could be also used for sucking up all fishes safely over weirs in the
behind protected tailwater in the process of rotating showel return ...
- where it is e.g. possible to construct an permanently electricity generating
kayak- and kanu boat-lane together with a the fishes sucktioning upstream
real alternative
to the otherwise highly costly traditional fish ladders with concrete walls
and flow chambers ,,,,
- They could be also used - with the help of a folding mechanism with adjust-
able back-flow function of the top water - as river flood control systems or
for urban weir systems, - without of the need of big additional walls and hu-
ge founding walls or concreted river beds ...
Patent 3
Vane Profile with significantly increased performance for Savonius Rotors
Was the University of Munich once researching for the optimum Savonius-flow-pro- file ; - this new profile is just optimizing the original one from Munich through building
it alike a special wing-profile , - where the peripher wind-induced counter-flow resis-
tances are greatly reduced and asymmetric Darrieus-pofils can be used for optimum
flow in the back-flow from here, which could significantly increase the overall efficiency
with so much simpler and also highly stable construction, especially in larger plants.
Patent 4
Decentralised ( - in principle ) Vertical-Rotor
Wind - or Water-Power Plants.
In further revision and flow analysis of patent No. 3 - for the highest effective use in or
on building structures on roofs, on wall-edges and so on within rural and urban struc-
tures or wherever back-stream vortexes are anyhow rotating
Patent 5
Rotary Drive and/or Rotary Motor for invasive and/or expansive Drive Media.
Working in a closed system without of to the outside coming combustion-fumes.
- Composed to runs with the explosive pressure of a nearly permanent Bleve-Jet
( - maybe with Butane gas ... ) as well as with the ( - though the explosion here also automatically
caused ) underpressure or vacuum on the other side at the same time ;
- has a central and or peripheral rotation-drive mechanism without of any imba- lance or any fiddling around ...
Inno 6
For me the most highest potent and efficient ever
4-Stroke , 2 - or 4 Cylinder Super-Motor for all drive-types
Smallest - with only 6 main parts , could be used for Hydrogen or any kind of anyway
all non-fossile- or for synthetic fuels ,
- where its compression pressure ( - as well as the active volume of the combustion- or the
explosion chamber ... ) can be varied or easily adjusted ;
- plus also for a high-compressed Air- or as Hydraulic Drive ... ***
Inno 7
Then an ingeniously easy to built high-performance Water- or Airpump ( - without
of any bearing loads ) without of any flow-obstructions , - or without the need for partial
squeezing or compression of the flow media respectively the water ...
Patent 7
Spindle Drive with multible bearing Spindle - especially for beside vertically - also in the same system horizontally running or moving Elevator-Systems
So driving vertically to other floors and heights plus to other horizontal directions at the
same time , - whereas the cabins could also wait or been turned around the spindle
centre .
- Another option is a room elevator without of any seen spindle-pillar in the room
- build alike a sofa or a single armchair, - where while sitting upon,- it can be ( -
including - or without of its floor-part ) lifted to a second or third floor, - whereas the nee-
ded spindle drive mechanism is hided seat ... what´s certainly highly amusing as
well as fun.for elderly people to reach other floors inside of their residencies.
- The probably round floor element either fits into a similarly shaped ceiling recess
flush ; or the corresponding ceiling element gets its own - retracting or partially
sliding side-ways.












Patent 8
Kite-Yacht Concept - especially for principally - or additively used Kite - or Flettner-Kite Drives
Kite-Drives developed ( - if necessary also partially combinable with each other) Ship-, Yacht-
and Boat Concepts
- which enables us for example to have a highly narrow underwater hulled prin-
ciple Mono-Yacht with a small security-Ama - outrigger construction , where
the Aka - or outrigger-beam could be used as a - the Kite-forces automa-
tically balancing to a neutral horizontal boat- or ship- water-position or state ,
- that the outrigger ( - except fully flat before the wind ) could be ( - support-wheel
accordingly ) nearly always kept or driven highest effective outside the water !
- Has a Flettner-Rotor nearly a 14 times higher efficiency than a same sized
wing, - several maybe also inflatable structured Flettner-rotors could also
be designed like an airplane wing- and body structure - with several hori-
zontal rising rotors for lifting and steering. - which could additionally signifi-
cantly optimize ship propulsion compared to a kite propulsion ...
Patent 9
Rogue Wave Protection-System for Large Ships
- especially based on the injection of high-compressed air, - as on spring-
loaded protection shields , both at the most effective frontal - or bow point or
bow area.
- also large merchant ships - like container-ships and so on - could be con-
structed alike a lorry-trailer-combination ,
- where a smaller but well driven front-ship ( - driving in the ( - the loads and goods carry-
ing ) main ship´s front or ahead ) is connected through a vertically movable boom-
or trailer-arm in this way , that the ship ahead has the power to direct and
stear the main hull as well as riding as a cushioning buffer over the coming
rogue waves ...
This front or ahead driving ship could be constructed like this , that it could be se-
parated or disconnected from the bigger main ship ;
- that the main ship holds the main motor weight plus the main fuel-tank ,
- whereas the main drive and main propellers of the front ship are connec-
ted through a hydraulic gear-drive with the main ship ,
- and in cases of emergency or leasure times - the front ship could be used
( - then with its smaller built-in engine inside ) as a highly manoeverable fast and
long-range far-distance - for the entire ship´s crew ( - with integrated berths galley
showers and heads ... ) most comfortable resque-vessel , easily able to sail a few
hundreds of nautical miles with high power to a safe shore or harbour ;
- as also to escape possibly pirates , - where the main ship without of its
`lorry ` is for pirates outsiders and strangers nearly useless.
- The up and down ship movements between the two ships could also be
used as an additional ocean wave power plant.
Rotation transmission - either with a level gearbox
or by means of a gear rack on both sides with alternating freewheel gears !
Inno 10
Flapping-Wing ( Wind- or ) Water-Turbine ,
For the highest effective - plus low-cost low-maintenance etc. usage in streams, rivers
and weirs
- with a mechanically ingeniously simple control for the respective vertical or hori-
zontal turn of the wing or wing-staggers in the respective new drive direction
Inno 11
An optimized static Tesla Flow Recoil-Valve
Without any moving or anyhow flow-blocking parts, which is working without of any
damage or material-fatigue - also with highest consecutive switching intervals possibly
over centuries ...
Inno 12 a + b
A self-tacking Jib that swings automatically and adjustable - nicely lee-side behind the
Mainsail , that there could be achieved a optimal Venturi-Effect-Drive between both sails
And a bothsides lateral swinging-out Cockpit Riding-out Platform for Monohull-Yachts,
for riding out when sailing with half wind or with diagonally aft winds ; - for more sailing
effectivity , more speed and fun !
Inno 13
An new Construction Concept of the watering side
of Ground-Effect Yachts and Ships
An almost ingeniously - easy to built and to realize highest stable and nearly indestruc-
tible construction-concept for the then optimized start and starting proceedure of
Ground-Effect Boats, Yachts and Ships ....
- which enables these kinds of boats also to start highest effectively without of
the need to overcome huge water-frictions ...
Because of the enormously high waterfriction with ground effect boats or ships
they are "normally" in need of a high motorization to overcome this blockage till
they are in the air ... - and once in the air this highpower motorization is fully use-
less - and its performance must then inevitably be reduced or throttled back ...
- Using the same sytem with Hoover-Crafts , - their extreme constructive mass
as well as their extreme susceptibility to crosswinds and drift to be countered -
are then both a thing of the past .
14
Eco-House Concept
A residential Eco-House Construction-Concept with a most beautiful multi-purpose sac-red Interior
- where ecological concepts, own privacy and a vegtable garden on the roof-top
plus optimum insulation and a atrium with view to the sky inside - are joining
most pleasingly together ...
the inside atrium could also built in a bigger view with bigger buildings - a few storeys higher than soil level - a few storeys lower - or except the upper ring-construction everthing completely in the ground ...
Patent 15
Ultra Leightweight - Glass Load-Bearing Structure
Nevertheless it was one of my first patents , till now no one tried anythiing else like this , and it would be certainly quite nice, most charming and worth considering ( - especially with the nowadays avaiable carbon - aramid- or basaltic fibres especially with the additional use of nowadays §-D Printing technologies - also for huge houses and skyscrapers ... ) to use this this technical flame spraying process described here, - for the construction of fully amorphous ultra-lightweight technical - or building-structures ( - with everything helpful and necessary, including empty pipes and cable ducts, ventilation and insulation .. etc. integrated, - similar to the static force-dissipation-optimized internal structure of a bone skeleton ; or like the internal structure of a termite mound ; - but here ) nearly completely made of glass
Are there just many many other and additional technical possibi-lities and chances more ; - the above
"AUM"- Vortex Developments
of Patent No 1 -
( - maybe additionally with the Inno 5 and Inno 6 motors to solve also the world-wide energy-problems ... ) are from all these above developments the most impotant and highest valuable ones.
Here now last but not least - Lord SUBRAHMANYAM who is standing for the most noble and ideal, - human beings are able to achieve and become ... or getting aware of ,,,
By conquering and mastering his ego as anger and sadness - symbolized by the his victory banner ( - with the rooster, who is now devotedly and peacefully serving him on his left ... ) - and with the right side `VELUM´ - being nothing and no One else than Thee Divine Mother - SHIV-SHAKTI PARVATHI-SARASVATHI Herself , -
giving herself as the gift in the form of
- the "AUM" - Vortex structure of the VEL
to the ultimate fulfillment and realization of the Soul-development and the ultimate Samkalpa of the Universe ...
where SUBRAHMANYAM is - and has become ( see his helmet ) a SHIVA-LINGAM - or Thee SHIVALINGAMA Himself .
His downright breathtaking and unearthly wonderful peacock mount animal - ` PARAVANI ` stands for -
Wherever SUBRAHMANYAM has been or travelled , - in his
quest to comprehend the universe as a whole, - to explore
and be the first to orbit it fathoming pervasively ,...
- in the very end -
only the "AUM" and its Divine VEDANTA Consciousness
( - manifested by the "AUM" Vortex peacock-eyes on its feathers ... )
SAT - CHIT - ANANDA
Blessing - pure Love and Bliss
remains radiantly inspiring and enlightening everywhere !
OM TATPURUSHAAYA VIDHMAHE
MAHAASENAAYA DHIMAHEE
TANNO SHANMUKHA PRACHODAYAAT
SAMASTHA LOKAA SUKHINOO BHAVANTHU
OM SHANTI SHANTI SHANTIHI
OM SRI GURUBHYOO NAMAH
HARIHI OM
TAT SAT
Welcome to








After-SIGHT
In essence
- and nevertheless many of the above technologies and methods have
to be explained much more deeply
we need ( - maybe additionally ... ) a to the real ethic social ecological plus healthyness and inside happiness - altogether for a happy
- and only in an atmosphere of love and peace plus happiness anything else
important could be learned imbued or integrated -
so also for a most effective spiritual development ( - also of all living beings and Soul-develop-ment aspects of Divine consciousness orientated ) , - so also towards the needs and ideals of a for everyone pleasent life-protective civization and happy life of the people orian-taded - working cooperatively in real inner friendship together - so spiritual eco-nomy and industry ,
- where I thought about, that also here ( - as same as with the development of Linux ; - the
Seikatsu-Club in Japan or the BANTAM-System in Bali traditions ... or other most important cooperative pro-
jects ... ) there are several most helping things for everyone - also to build up
fully new craft workshops - till to industrial branches ,
Keeping it in a drawer is of no use to anyone and will not make anyone the least bit happy, or happier ...
- and it was developed to profoundly help people and our beloved earth
animals microbes plants the waterbodies and nature ...
I personally do not have any possibilities nor the sole power to steer all this in a good direction,
so I trust to You and all of YOU plus Your All inside ABSOLUTE
- let's see what we can make and build together ( - also for our most beloved children and grandchildren - as well as all our beloved descendants ) from this Divine Gift and from our all pri-mal tradition - so together on a principled eye level ( - here gladly also the respective scientists and worldwide devotees ) in trust and love for the superior ABSOLUTE ...
And never forget - The pure love to a human being - to Your belo-ved Spouce and children is the most valuable - much more valua-ble as any kind of technology or luxury together ...
Was and is till now every single company I´m working with - so including all their pro-ducts MATATEC - VASAATHI Transformed , - this would and should also be integrated as an ``Energetic Quality Standard Certificate´´ - to have and to achieve the full benefits ...
With best regards
HARIOM TAT SAT
Yours
B o t i d a






















































































































































































